عصرایران؛ محمد مهدی حیدرپور - تولیدکنندگان دوربین های عکاسی و فیلمبرداری همواره باید خلاقیت و نوآوری خود را حفظ کرده تا از رقبای خود عقب نمانند. این مساله در برخی مواقع به نتایج و نوآوریی هایی منجر می شود که یا حالتی فریبنده داشته و یا فراتر از قلمرو کاربرد و عملی شدن هستند.
به گزارش "گروه علم و فناوری" عصرایران، در دریای ایده ها نمونه هایی به واقع جالب توجه و قابل دسترس نیز وجود دارند که در سطوحی بالاتر از ایده های دیگر قرار می گیرند. در ادامه این مطلب برخی از پتنت ها (حقوق ثبت اختراع) و پروژه های چشمگیر که نوید ظهور دوربین هایی فوق العاده در آینده می دهند را معرفی می کنیم.
حسگر پنج لایه کانن

اگر حسگر پنج لایه کانن به واقعیت تبدیل شود عکس های گرفته شده هیچ نشانی از لکه های مزاحم روی پوست نخواهند داشت. افزون بر لایه های رنگی قرمز، سبز و آبی، یک حسگر فروسرخ به شناسایی پوست اقدام کرده و یک لایه سنجش فرابنفش نیز عیوب روی آن را تشخیص می دهد. با حسگر پنج لایه کانن می توان از طریق لایه نور فرابنفش و لایه فروسرخ به مقایسه بخش های مختلف پرداخت و از این اطلاعات برای حذف لکه های روی پوست استفاده کرد.
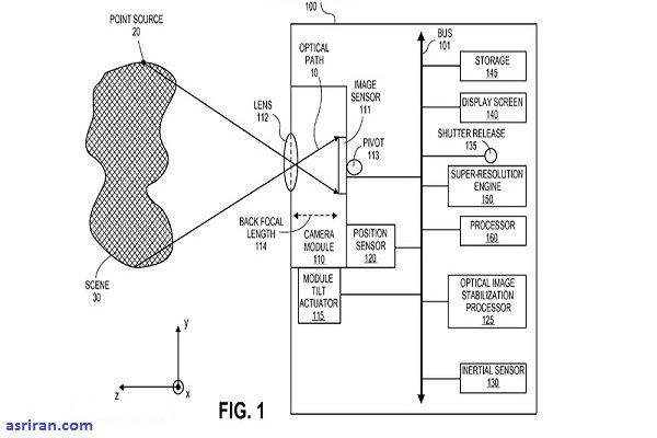
عکس های سوپر رزولوشن آیفون

این فناوری در آیفون 6 و آیفون 6 پلاس به کار گرفته نشده است. اما اگر اپل پتنت "سوپر رزولوشن" خود را به واقعیت تبدیل کند امکان ثبت تصاویری واضحتر از هر زمان دیگری فراهم می شود. با استفاده از فناوری لرزشگیر اپتیکال، پردازنده چندین عکس گرفته شده از یک منظره را به یکدیگر متصل می کند. از این طریق، داده های تصویری بیشتری جمع آوری شده و تصویر کلی از وضوح بالاتری برخوردار می شود.
دوربین لنز تماسی گوگل

گوگل قصد دارد به افرادی که در دید خود دچار مشکل هستند با لنزهای تماسی که دوربین هایی در آنها تعبیه شده کمک کند. دوربین ها به منظور شناسایی موانع آن چه که روبروی فرد قرار دارد را اسکن کرده و هشدارهای صوتی به موبایل هوشمند ارسال می کنند. به عنوان مثال، کاربر از این طریق نسبت به امن بودن خیابان اطمینان حاصل می کند. رزولوشن بسیار پایین این دوربین ها برای عکسبرداری با جزئیات بالا مناسب نبوده اما در صورت بهبود و ارتقا آن می توان به صورت مخفیانه نیز اقدام به عکسبرداری کرد. گوگل به امکان افزودن حسگرهایی به این لنزها برای ردیابی سطح گلوکز خون کاربر و ارسال هشدار در زمان افزایش بیش از اندازه نیز اشاره کرده است. این مساله برای افراد مبتلا به دیابت سودمند است.
حسگر منحنی سونی

حسگر منحنی سونی می تواند تحریف رنگ که در تصاویر گرفته شده با حسگرهای سنتی دیده می شود را اصلاح و یا کاهش دهد. به لطف این انحنا، حسگر می تواند اطلاعات نور را دقیقتر دریافت کرده و از این رو گوشه های تاریک کمتر و شارپنس بهتر را موجب می شود. بنابر شایعات، این حسگر 2/3 اینچی به همراه لنز 20 میلیمتری f/1.2 در یک موبایل هوشمند به کار گرفته خواهد شد.
لنزهای دو رو اُلیمپوس

در صورت پیاده سازی پتنت لنز دو رو اُلیمپوس، لنزهای واید و ماکرو در یک لنز قرار گرفته و تنها باید برای استفاده از هر کدام لنز را برعکس کنید. این پتنت شامل یک اتصال می شود که به هر دو انتهای لنز اجازه نصب روی دوربین را می دهد. عکاسان احتمالا بیشتر از حالت واید استفاده خواهند کرد اما همراه داشتن یک لنز ماکرو و توانایی گرفتن کلوز آپ با جزئیات بالا از یک سوژه نیز جالب توجه است.
حلقه چند لنزی کانن

تجربه مواجهه با منظره ای زیبا و به همراه نداشتن لنز واید ناخوشایند است. اما سیستم چند لنزی کانن می تواند چندین انتخاب را روی یک حلقه گردان در اختیار عکاس قرار دهد. با گرداندن حلقه می توانید از لنزهای مختلف استفاده کنید. این سیستم وزن بیشتری را به دوربین اضافه کرده اما این اضافه وزن به واسطه قابلیت های بیشتر برای عکاس ناراحت کننده نخواهد بود.
بزرگنمایی 45 برابری کانن

با استفاده از دوربین ضدآب کانن و بزرگنمایی 45 برابری آن می توانید در آینده عکس های به یاد ماندنی در زیر آب شکار کنید. لنز این دوربین می تواند از فاصله کانونی 26 میلیمتر تا 1,170 میلیمتر برخوردار بوده و به لطف سیستم اپتیکال خمپذیر از اندازه جمع و جوری نیز برخوردار خواهد بود. دوربین های ضد آب فعلی دامنه بزرگنمایی 3 تا 8 برابری را ارائه می کنند و از این رو بزرگنمایی 45 برابری بی رقیب در نظر گرفته می شود.
لنز مایع برای فوکوس خودکار

لنزهای مایع می توانند فوکوس خودکار فوق سریع را ارائه کنند. دو نوع مایع که مخلوط نمی شوند (نفت و آب) در یک سلول مهر و موم شده قرار گرفته و هنگامی که یک جریان الکتریکی برقرار می شود نفت تغییر شکل می دهد. نوری که از این دو مایع عبور می کند شکسته شده تا روی حسگر فوکوس کند. لنزهای مایع قابلیت تغییر شکل سریع برای فوکوس روی سوژه را دارند. به واسطه عدم برخورداری از بخش متحرک، لنزهای مایع بادوامتر هستند.
لنز موبایل هوشمند از ماربلایک

در حال حاضر، دوربین موبایل های هوشمند نمی توانند با مدل های پیشرفته DSLR رقابت کنند اما شاید در آینده شاهد تغییر این شرایط باشیم. تیمی از پژوهشگران دانشگاه کالیفرنیا یک لنز واید با بدنه ای کوچک را توسعه داده اند که یک دهم اندازه لنز DSLR است. از آنجایی که این لنز برای استفاده در اکثر موبایل های هوشمند به اندازه کافی کوچک و می تواند از فاصله 1,650 فوتی روی سوژه فوکوس کند ممکن است عکاسان بسیاری را به کنار گذاشتن دوربین های DSLR ترغیب کند.
حالت عکسبرداری با تغییر میزان آب از اُلیمپوس
